Fenda coclear: correlação anátomo-patológica e tomográfica.
Olá neuroskyer! Hoje, eu Tomás Freddi, discutirei de maneira muito objetiva este artigo publicado em 2020 no Otology and Neurotology, que avaliou o tema fenda coclear.
Introdução
O termo “fenda coclear” (FC) tem sido descrito para o achado nos exames de tomografia computadorizada (TC) caracterizado por linha curvilínea hipodensa pericoclear, anterior à cóclea. Estudos anteriores avaliaram a prevalência da fenda coclear em crianças, e não demonstraram correlação com os sintomas otológicos. No entanto, a FC é um achado importante porque pode mimetizar patologias na cápsula ótica. Foram feitas hipóteses de estar relacionada à fissula antefenestram, massas cartilaginosas, ossificação incompleta, uma fenda endosteal ou corresponder ao primeiro centro de ossificação.
Este estudo visou proporcionar uma maior elucidação através de correlação direta da TC e estudos histopatológicos.
Métodos e Participantes
Feita pesquisa de espécimes de ossos temporais obtidos por exames de TC do Instituto Nacional de Surdez e Outros Distúrbios de Comunicação Registro Nacional de Ossos Temporais entre 2007 e 2019 (EUA). Foram escolhidos 03 espécimes de osso (idades variáveis), sendo os de TC realizados post-mortem e, posteriormente, as amostras foram processadas em um método padrão e seccionadas em série e corada com hematoxilina e eosina.
Paciente 1: feto de 34 semanas
Paciente 2: adulto 42 anos
Paciente 3: adulto 89 anos
Análise das imagens e lâminas:
A FC (área curvilínea hipodensa ao redor da cóclea) correspondeu à histopatologia às áreas de medula óssea amarela, e em geral foram mais proeminentes no espécime fetal, onde havia menos ossificação.

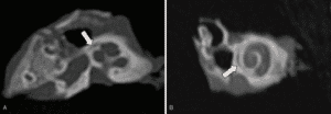
FIGURA 1: TC demonstrando FC, fina linha hipodensa que circunscreve a cóclea.
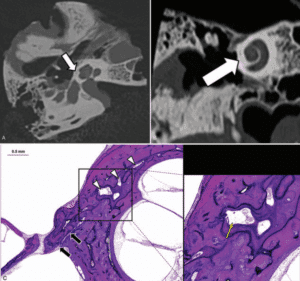
FIGURA 2: A e B: TC demonstrando FC em paciente adulto, tênue linha hipodensa que circunscreve a cóclea. C: imagens de estudo histopatológico revelando presença de medular óssea amarela na topografia da FC.
DISCUSSÃO:
O estudo correlaciona diretamente a presença da hipodensidade linear/circular na cápsula ótica pericoclear, comumente chamada de FC, com análise histopatológica. Nesses casos, a FC correspondeu a áreas de medula óssea amarela residual relacionada à ossificação incompleta e parece ser menos visível com o passar da idade, presumivelmente à medida que a ossificação continua.
O estudo atual, inclusive demonstra a presença da FC em alguns espécimes de adultos, contrário ao relatado anteriormente na literatura. Esta constatação é importante, pois, nestes casos pode ser confundido com a otospongiose.
A região da fissula antefenestram e a área anterior à janela oval são compostas principalmente por camada ou osso encondral, com apenas uma fina camada externa pericondral ou osso periosteal. O processo de ossificação desta porção da cápsula ótica se inicia durante a gestação, e termina após o nascimento.
Foi feita a hipótese em outras publicações de que a FC é relacionada à fissula antefenestram ou à interface entre as camadas endosteal e periosteal externa da cápsula ótica. Outros autores sugeriram que a hipoatenuação pericoclear se relaciona com trabéculas ósseas que emanam de a camada média da cápsula de ótica na região do primeiro centro de ossificação, representando assim um remanescente do desenvolvimento da cápsula de ótica. Alternativa seria que a FC é secundária a uma variação ou atraso na ossificação ou à presença de massas cartilaginosas.
No estudo atual, os autores demonstraram que a FC tratava-se de medular óssea gordurosa, relacionados à ossificação endocondral incompleta, ou seja, uma variação na ossificação.
IMPORTANTE: As principais características de imagem que parecem diferenciar a FC da otospongiose são: aspecto linear fino, curvilíneo, circunscrevendo a cóclea. Ao contrário, a otospongiose fenestral é focal, tende a expandir a cápsula ótica e localizada anteromedialmente à janela oval.
Além disso, os autores demonstraram que a FC e a fissula antefenestram são anatomicamente separadas (não se conectam), e a fissula antefenestram contém tecido conjuntivo. Detalhe: a fissula antefenestram, normalmente, não é vista em imagens de TC, exceto em condições patológicas.
CONCLUSÃO
A fenda coclear corresponde a uma área de ossificação endocondral incompleta, contendo medular óssea amarela, o que corresponde à hipodensidade nos exames de TC.
A FC pode persistir até o final da vida adulta em alguns pacientes e NÃO deve ser confundida com a fissula antefenestram/otospongiose ou com outras patologias da cápsula ótica.
Portanto, caros ouvintes este é mais um achado imagem fundamental na prática diária.
Abraço a todos.
Tomás Freddi



